我们分别用文字和图文的形式更新产品,如果购买时候有相关问题,请及时咨询我们的技术人员。电话13871243450(微信同号)
变革2025,工业4.0,行业技术更新越来越快,液压扳手行业也是一样,每隔一段时间(可能是一年,也可能是几个月)产品都有升级。普朗特()液压扳手专用气动泵也有升级,本文主要阐述2017年液压扳手气动泵PTE70D系列专用气动泵特点的对比。
原来老版本PTE70D液压扳手专用气动泵技术特点:
1、密封性能好,无油润滑,密封装置将气体压缩缸与空气驱动缸分离,保证压缩介质不被驱动气体污染及高压力的能力,易维护,体积小重量轻,密封件寿命长,连续停/开无限制;
2、利用气源作为动力,防爆,安全;
3、输入气压为4-8Bar;
4、外置释放阀保护工具;
5、四路分流器允许多达4个工具同时使用;
更新后的PTE70D液压扳手专用气动泵技术特点:
1、利用压缩空气作为动力源,一般使用在防爆、煤矿等应用场合,具有防爆、安全、不发热、能长时间连续工作等优点;
2、使用高性能气动换向阀,安全可靠,性能稳定;
3、泵站采用铝钛合金制作,重量轻便,携带方便;
4、压力从4-70MPa可以连续调节;
5、可以根据用户需求提供不同规格气动液压泵的定制;
6、系统压力释放按钮,可以在液压泵停止工作的情况下释放压力;
7、钢制经书结构保护架,能保护机身,又方便搬运。
产品图片对比:


上图为2017年之前的德国原装进口液压扳手气动泵PTE70D系列
现在的德国原装进口液压扳手气动泵PTE70D系列

新的配置兼容原来的内容,功能更加强大。
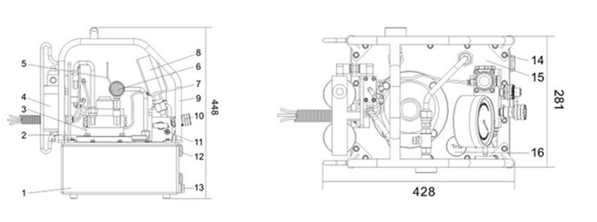
液压扳手专用气动泵PTE70D外形尺寸及组成部件

液压扳手专用气动泵PTE70D型号
| 型号 | 油箱容量(L) | 功率 (KW) | 气源压力(MPA) | 耗气量 (m3 /h) | 最大工作压力(MPA) | 流量 (L/min) | 外形尺寸(mm) 长*宽*高 | 遥控线长度(m) | 重量(kg) |
| PTA70D | 7.6 | 1.3 | 0.4-0.8 | 134 | 70 | 0.8-1.6-8 | 428*281*448 | 6 | 21 |
液压扳手专用气动泵PTE70D
正版香港猛虎六大宝典()主要有:液压扳手,液压泵站,液压千斤顶,液压拉马,液压螺栓拉伸器,液压剪,液压钳等液压产品,产品广泛应用于采矿,电力,化工,冶金,铁路,船舶,工程建设,重工机械等各大领域。欢迎登陆我们的网站了解更多液压扳手、德国进口液压扳手产品及服务。24小时咨询热线15972928099.