|
德国进口液压扳手专用气动泵PTE70D德国进口液压扳手专用气动泵PTE70D 前文我们介绍了液压扳手同步电动液压泵,本文给大家重点介绍液压扳手专用气动泵PTE70D。
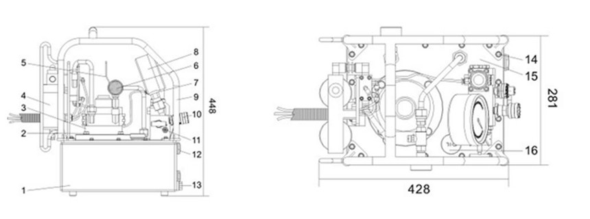
德国进口液压扳手专用气动泵PTE70D最新技术特点: 1、利用压缩空气作为动力源,一般使用在防爆、煤矿等应用场合,具有防爆、安全、不发热、能长时间连续工作等优点; 2、使用高性能气动换向阀,安全可靠,性能稳定; 3、泵站采用铝钛合金制作,重量轻便,携带方便; 4、压力从4-70MPa可以连续调节; 5、可以根据用户需求提供不同规格气动液压泵的定制; 6、系统压力释放按钮,可以在液压泵停止工作的情况下释放压力; 7、钢制经书结构保护架,能保护机身,又方便搬运。 原来老版本PTE70D液压扳手专用气动泵技术特点; 1、密封性能好,无油润滑,密封装置将气体压缩缸与空气驱动缸分离,保证压缩介质不被驱动气体污染及高压力的能力,易维护,体积小重量轻,密封件寿命长,连续停/开无限制; 2、利用气源作为动力,防爆,安全; 3、输入气压为4-8Bar; 4、外置释放阀保护工具; 5、四路分流器允许多达4个工具同时使用; 6、标准配置为1付快速接头,配置2付或4付快速接头请在订单中注明。 新的配置兼容原来的内容,功能更加强大。 液压扳手专用气动泵PTE70D外形尺寸及组成部件
液压扳手专用气动泵PTE70D型号
液压扳手专用气动泵PTE70D购买地址: /prandtl/products/18193237.html 正版香港猛虎六大宝典()主要有:液压扳手,液压泵站,液压千斤顶,液压拉马,液压螺栓拉伸器,液压剪,液压钳等液压产品,产品广泛应用于采矿,电力,化工,冶金,铁路,船舶,工程建设,重工机械等各大领域。欢迎登陆我们的网站了解更多液压扳手、德国进口液压扳手产品及服务。24小时咨询热线15972928099. |








